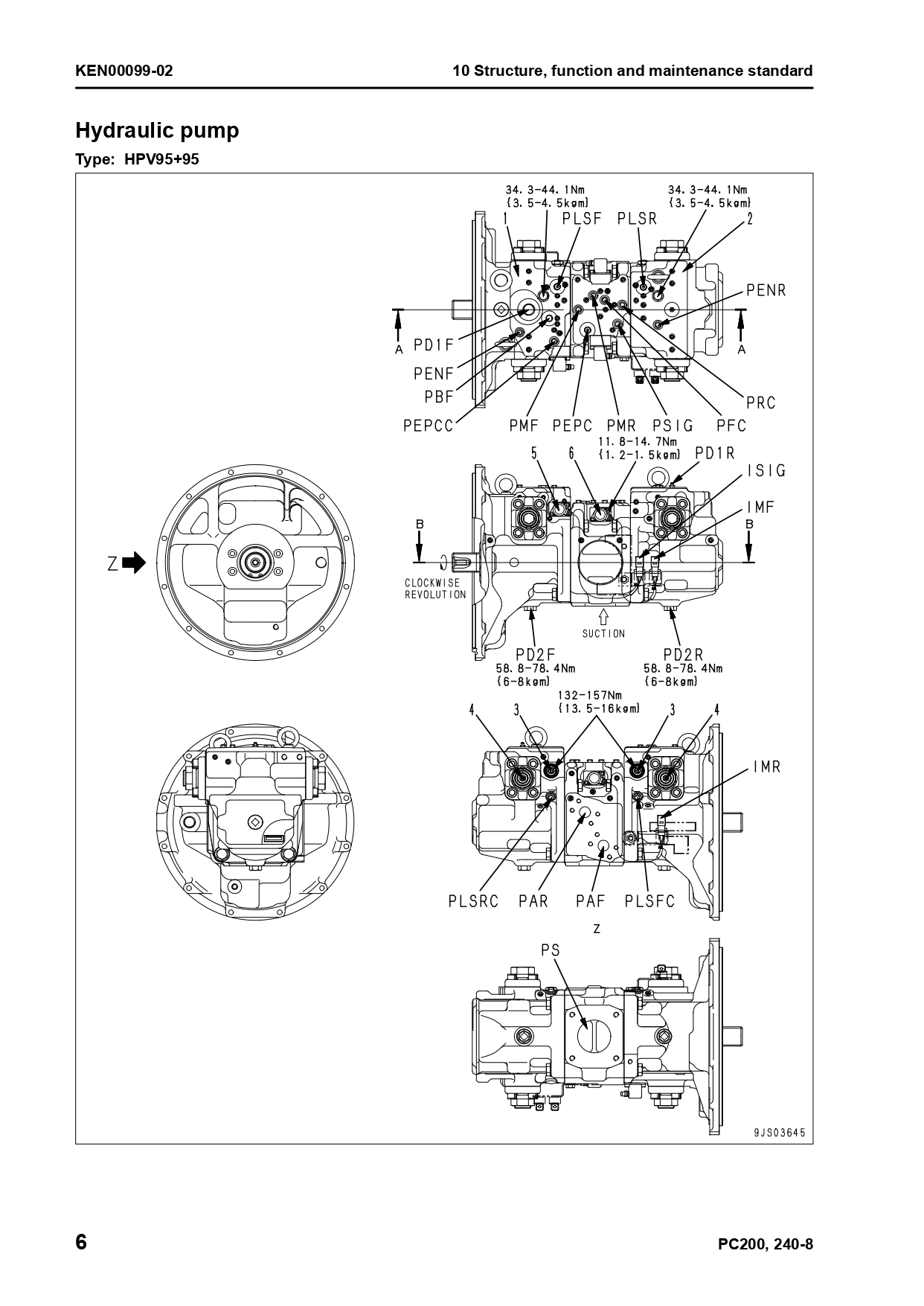
Cụm bơm tổng HPV95 PC200-8
Bảo hành 12 tháng,
Hóa đơn GTGT VAT 100%
Tên sản phẩm: Cụm bơm tổng thủy lực HPV95+95 (Main Hydraulic Pump)
Xuất xứ: Komatsu/ OEM Japan
Ứng dụng: Máy xúc Komatsu PC200-8
Loại bơm: Bơm piston hướng trục, 2 khoang độc lập
Chức năng: Cung cấp lưu lượng dầu áp suất cao cho van tổng, điều khiển tất cả cơ cấu thủy lực của máy.


CÔNG TY TNHH PHỤ TÙNG THIẾT BỊ VIỆT NHẬT
📞 Mr Duy – Hotline/Zalo: 0977 010 083
https://vietnhatparts.com/